|
|
Подвеска легковых автомобилейПодвеска легковых автомобилей |
|
|
||
|
|
Секреты ходовой II CarExpert.ru Октябрь 2010 |
|
Подвеска легковых автомобилей
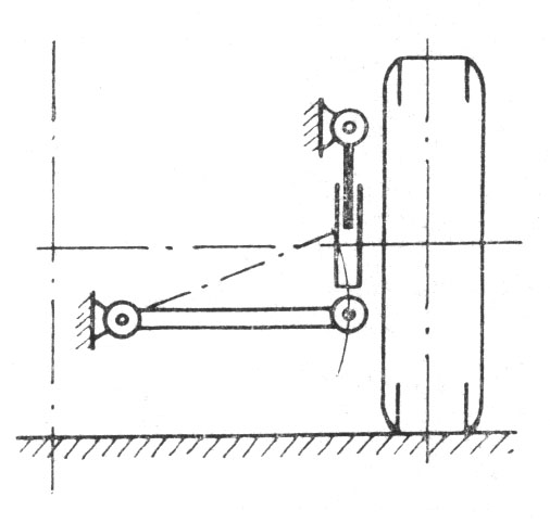
В.П. В легковом автомобилестроении дело давно свелось к нескольким схемам: спереди, как правило, McPherson – и реже конструкция с двойными поперечными рычагами (ДПР). Тогда как сзади обычно подвеска на сопряженных продольных рычагах; «многорычажка» применяется для автомобилей повыше классом и подороже. Начало обзора автомобильных подвесок Путь к «многорычажке» занял 2 с лишним десятка лет - от первых конструкций на ДПР (легковушки Jaguar в самом начале 60-х). И вела дорога через промежуточный пункт под названием «мост Вайсзах», который у Porsche застолбили еще для модели образца 1978 года. Мост Вайсзах «Ввинчивание» в вираж в ответ на торможение… А все из-за отрицательного схождения задних колес: «носочки врозь» - первая балетная позиция. Тогда как необходимо легкое положительное схождение («носочки внутрь»). Инженеров Porsche непредсказуемое поведение высокодинамичного 928-го заведомо не устраивало. Даже в проекте. И они предложили остроумную эластокинематическую конструкцию: раз уж избавиться от податливости рычагов и опор нельзя, то пусть она идет на пользу дела. Идея нехитрая: поперечные рычаги на торможении отгибаются назад – ничего не попишешь. Эластокинематика. Однако «ломающиеся» вспомогательные тяги (с хитрыми шарнирами) при деформации рычагов и опор придают колесам … положительное схождение. «Носочки внутрь» (см. рис.), - что и требовалось доказать! Так 928-й и в самом деле отличался прекрасным держанием дороги и управляемостью – без всяких сюрпризов для водителя. А почему «Вайсзах»? По названию города Weissach, Баден-Вюртемберг, где расположен спорт-центр Porsche. Простенько и со вкусом. ![]() Мост «Вайсзах»: к нижним поперечным рычагам принайтованы продольные «ломающиеся» тяги. Когда на торможении поперечные рычаги отгибаются назад, тяги доворачивают колеса «носочками внутрь». Номер раз Прежде чем продолжить, сделаем зигзаг и зададимся законным вопросом: какие вообще требования предъявляются к направляющему аппарату подвески? Надо сказать, ясность в самой постановке задачи пришла не так давно – лишь к концу 50-х. Так вот, неважно, ведущий мост или нет; главное, чтобы колея при ходах колес менялась как можно меньше – требование № раз. Если при прогибах колея сильно изменяется, колеса проскальзывают поперек направления качения. Их сцепление с опорной поверхностью нарушается, держание дороги ухудшается – до раннего заноса (или сноса). Несколько миллиметров смещения вправо-влево ничего не значат: они легко поглощаются эластичностью шин. Но когда колея изменяется на 25-30 мм (и сильнее), жди неприятностей. Итак, постоянство колеи при ходах колес (до ограничителей). Такому условию отвечает … неразрезный мост (ось, балка). Если балка, соединяющая два колеса, жесткая, то (при равных прогибах слева и справа и при боковых кренах автомобиля) колея неизменна, - по построению. Выходит, древнейшая и простейшая конструкция кинематически весьма совершенна (по требованию № 1). Спрашивается, зачем же тогда городить огород с замысловатыми схемами независимых подвесок? Не все сразу; требований к подвеске больше одного, они подчас противоречат друг другу. И удовлетворить им всем неразрезная балка не в состоянии. Например, при перекосе оси на рельефе, как видите (см. рис.), и колея меняется, и мост смещается в сторону; ничего хорошего. Вот почему, между прочим, для «вседорожников» независимая подвеска даже нужнее, чем для обычных легковушек, которые ездят по дорогам с усовершенствованным покрытием. ![]() При перекосе неразрезной оси (неравные хода колес слева и справа) колея заметно изменяется. Неприятно. Тогда как на ровной дороге неразрезный мост хорош. Недаром шведские SAAB и Volvo держались старой доброй схемы – до последнего. Скандинавы создавали легковушки с расчетом – кроме прочего – на эксплуатацию по шоссе с усовершенствованным покрытием. Но зимой оно скользкое, и поэтому шины особенно чувствительны к изменениям колеи. Для скользкой дороги годится далеко не всякая независимая подвеска: неудачная конструкция (сзади!), и машину крутит на ровном месте. Скажем, простенькие качающиеся полуоси – никуда. А вот на ДПР – вполне; не случайно и SAAB, и Volvo, отказавшись в конце концов от неразрезных мостов, приняли для задней подвески схему с двойными поперечными рычагами. Классическая конструкция: она появилась еще до II мировой. Со всей определенностью кинематически наилучшая схема – как для передних колес, так и для задних. Возьмите Формулу 1: найдется ли хоть у одного из «болидов» какой-либо иной вариант подвески? … Что-нибудь да значит. Подвеска на ДПР привлекательна правильной кинематикой (см. рис.): при прогибе упругих элементов, при движении колес вверх-вниз их колея почти не меняется! Поэтому пятно контакта резины не проскальзывает по ходовой поверхности поперек направления движения. И значит, сцепление покрышки с поверхностью не нарушается; ключевое условие держания дороги. А правильная кинематика подвески на ДПР обусловлена тем, что у нее верхний рычаг заметно короче нижнего; в том-то и секрет. ![]() У независимой подвески на ДПР при ходах колес колея практически не меняется. Такая геометрия при ходах колес вверх-вниз задает им отрицательный развал, и если пропорции подобраны грамотно, он примерно компенсирует уменьшение колеи из-за качания рычагов. И всего-то, но переоценить трудно. И другие Требование № 2: при прогибах подвески колеса не имеют права подруливать – ни влево, ни вправо (вернее, могут подруливать, но только как доктор прописал). Сюда же примыкает требование № 3: задняя подвеска не должна остро реагировать на сброс «газа» (заднеприводные легковушки) и торможение. Об эластокинематике и поведении задней подвески в виражах речь уже шла, так что переходим к очередному пункту. Требование № 4: при кренах автомобиля колеса не должны «подламываться» под кузов (положительный развал). Как известно, шина лучше всего держит боковые усилия, когда она катится вертикально или (еще краше) легонько – на 2-3° – наклоняется в сторону поворота1. Вроде мотоциклов, которые идут в поворотах с креном внутрь. И если удается задавать внешним (по отношению к повороту) колесам отрицательный развал, вы можете нарезАть виражи быстрее. Вопрос победы или поражения в гонках. И безопасности в повседневном вождении. Здесь неважно смотрятся независимые подвески на продольных рычагах. Колеса перемещаются строго в плоскости кузова, а значит, когда автомобиль кренится в вираже, шины наклоняются – в той же степени – наружу. Ничего страшного (подруливание задних колес хуже), но особого держания дороги от такой ходовой не ждите. Еще в середине 50-х не видели, в чем прикол, – и строили гоночные «болиды» с подвеской всех колес на продольных рычагах (Gordini в 1955). Неудивительно, что сколько-нибудь заметных результатов на трассах они не показывали. Подвеска со связанными (сопряженными) продольными рычагами – она годится для задних колес – ведет себя лучше. Благодаря легкой (и эластичной) балке, соединяющей два продольные рычага, при кренах автомобиля колеса наклоняются не так сильно. Поэтому-то (а также в силу простоты) она и получила столь широкое распространение на переднеприводных легковушках. Но у такой конструкции свои недостатки (по требованию № 2). Наименьшее из зол – опять же схема с двойными поперечными рычагами. У грамотно сконструированной подвески на ДПР колеса хоть и наклоняются наружу от поворота, но все же меньше, чем кузов (см. рис.). Держит неплохо. ![]() Правильная геометрия подвески на ДПР уменьшает наклон внешнего (по отношению к виражу) колеса наружу. А как McPherson? Так себе: наклон внешнего колеса в виражах даже сильнее, чем у подвески на продольных рычагах; невыигрышно. И колея при прогибах изменяется довольно значительно. Поэтому «стойки» и не находят места в «формульных» конструкциях: кинематика не та. Да и для пассажирских автомобилей их применяют в силу компоновочных преимуществ: удачно вписываются под капот и места много не занимают. Ведь у McPherson верхнего рычага нет вовсе, а вместо него – скользящая телескопическая направляющая (см. рис.). То есть, поперечного смещения верхнего конца стойки при ходах колеса не возникает: как бы очень длинный рычаг. Иначе говоря, схема McPherson эквивалентна подвеске на ДПР, опрокинутой вниз головой: виртуальный верхний рычаг много длиннее нижнего. Отсюда и кинематика. ![]() У подвески McPherson кинематика задается как бы очень длинным верхним рычагом. Полуудачно. И опять же неразрезный мост. Надо сказать, он ведет себя достойно: как ни кренится автомобиль, шины стоЯт вертикально. Причем для неведущей оси нетрудно задать еще и перманентно отрицательный развал колес; в виражах резина прямо-таки упирается в дорогу. Как ни с одной другой схемой подвески. Другое дело, что спереди неразрезная ось крайне неудобна по соображениям компоновки: мешает размещению агрегатов. Да и сзади тоже, поэтому применяется старое доброе решение все реже. Многорычажка Когда-то «мост Вайсзах» задал направление развития, а очередной шаг сделали у Mercedes: в 1982 появился компактный седан 190 (модель W201). Его тут же окрестили «бэби»-Benz; удачная получилась легковушка. У 190-го независимая задняя подвеска на ДПР, причем впервые «многорычажная». Все 5 рычагов (см. рис.), взаимодействие которых аккуратно парирует неприятные выверты эластокинематики. ![]() Первая «многорычажка» (задняя подвеска Mercedes 190 образца 1982): - пара верхних поперечных рычагов (1 и 2); - нижние поперечные рычаги (3 и 5); - косая вспомогательная тяга (4); - телескопический амортизатор. Вот с тех пор… Верхний и нижний рычаги у «бэби-Бенца» сдвоенные (то есть, уже 4) и в плане образуют что-то вроде трапеций. В них-то и состоит секрет «многорычажки»: когда на торможении концы рычагов подаются назад, стороны трапеций доворачивают колеса «носочками внутрь». А вы боялись… Плюс 5-й рычаг – для полноты картины: он ориентирован косо вперед и при боковом крене машины (в вираже) подруливает в пользу легкой недостаточной поворачиваемости - независимо от торможения. Никаких сюрпризов; автомобиль всегда ведет себя вполне предсказуемо и послушно. В наше время «многорычажную» подвеску ставят сзади едва ли не на всех легковушках сколько-нибудь приличного класса. Именно сзади, тогда как спереди сойдет и McPherson. А вот задние колеса – будьте любезны. Еще раз: в основе «многорычажки» проверенная схема на ДПР со всеми ее достоинствами, - дополненная вспомогательными рычагами и тягами. Такую конструкцию называют еще «пространственной», поскольку многочисленные рычаги задействованы в непростой 3-мерной игре (см. рис.). Так что рычагов в задней подвеске вроде как многовато, - однако и лишних нет. Задняя подвеска на двойных поперечных рычагах достигла зрелости. Избыточная, недостаточная… За тонкостями и премудростями не забывайте о контроле геометрии подвески и об установке колес – передних и особенно задних. Выставлять нужно на спецстенде – иначе вы рискуете в один прекрасный момент испытать на себе, что значит острая избыточная поворачиваемость. 1 У гоночных «болидов» невооруженным глазом виден отрицательный развал передних колес. Казалось бы, мелочь – 2-3°… Октябрь 2010 |
Прочитано: 12712 раз
|
















